武芯烧录器支持NXP ARM微控制器LPC11Axx系列芯片编程烧录
发布时间:2026-03-11 16:30:52
LPC11Axx MCU 系列是恩智浦(NXP)推出的低成本32 位微控制器,基于Arm® Cortex®-M0 内核构建,最高工作频率可达 50 MHz。该系列专为替代传统 8/16 位微控制器应用而设计,在运算性能、低功耗特性、精简指令集、代码体积优化以及内存寻址效率等方面均有表现出色。
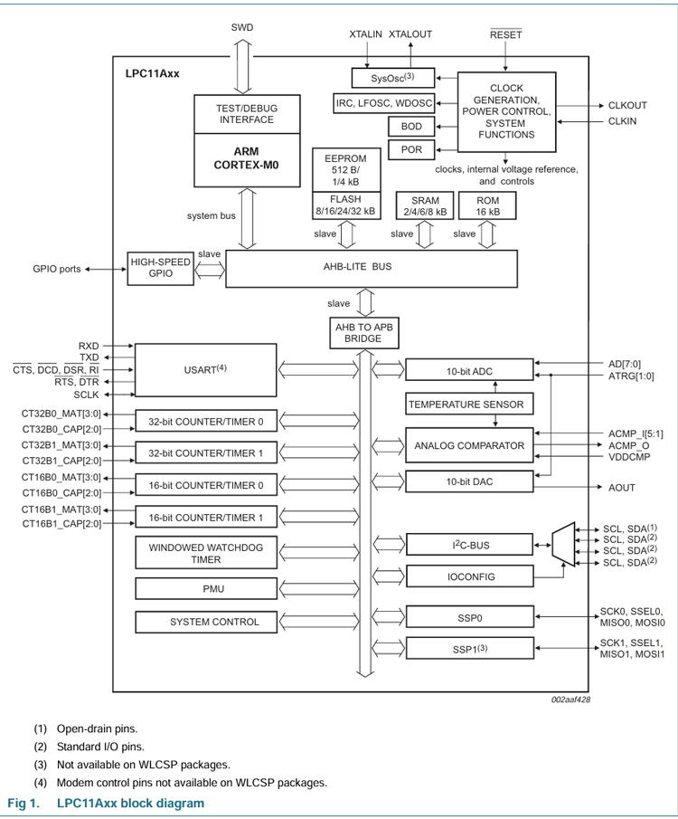
LPC11Axx 系列配备了灵活的模拟/混合信号子系统,可通过软件对其互联的数字与模拟外设进行配置,从而实现多样化的信号处理与控制功能。在数字外设方面,该系列最高可提供32 kB 闪存、4 kB EEPROM数据存储区、8 kB SRAM,并集成快速模式增强型I²C 总线接口、RS-485/EIA-485 USART、两个SSP 控制器、四个通用计数器/定时器,以及最多42 个通用 I/O 引脚,满足多种通信与接口需求。在模拟功能方面,LPC11Axx 包含 10 位模数转换器(ADC)、10 位数模转换器(DAC)、模拟比较器、温度传感器、内部电压参考源,以及欠压锁定(UVLO)保护电路,为模拟信号采集、调节与系统安全提供完备的支持。
LPC11Axx MCU 系列凭借高效的处理能力、丰富的数字与模拟资源,以及灵活的模拟/混合信号配置特性,非常适合工业控制、消费电子、家电以及各类需要高性价比 32 位解决方案的应用场景。
主要特性:
系统:Arm Cortex-M0 或 Arm Cortex-M0 处理器,运行频率可达 50 MHz
Arm Cortex-M0 或 Arm Cortex-M0 内置嵌套向量中断控制器 (NVIC)
支持串行线调试 (SWD) 和 JTAG 边界扫描模式
存储器:高达32 KB 的片上闪存编程存储器、高达4 KB 的片上 EEPROM 数据存储器高达 8 KB 的 SRAM 数据存储器、16 KB 启动 ROM
数字外设:具有可配置的上拉/下拉电阻、重复器模式和开漏模式、可配置数字输入毛刺滤波器,GPIO引脚可用作边沿和电平敏感的中断源、单个引脚上的大电流输出驱动器(20 mA)、两个开漏引脚上的大电流下沉驱动器(20 mA)、四个通用计数器/定时器,可编程窗口看门狗定时器(WWDT),具有专用的内部低功耗看门狗振荡器(WDOsc)
模拟外设:在8引脚中输入多路复用的10位ADC、10位DAC,具有灵活的转换触发
高度灵活的模拟比较器,具有可编程基准电压、集成式温度传感器、内部基准电压、欠压锁定(UVLO)保护,防止电源电压下降至2.4V以下
时钟:工作范围从1 MHz到25 MHz的晶体振荡器、12 MHz 内部 RC 振荡器(IRC)低频振荡器(LFOsc)、外部系统时钟的时钟输入(典型值为 25 MHz)、PLL 允许 CPU 使用 IRC、外部时钟或 SysOsc 作为时钟源、带分频器的时钟输出功能,可反映 SysOsc、IRC、主时钟或 LFOsc
串行接口:USART 带分数波特率生成,内部 FIFO,并支持 RS-485/9 位模式和同步模式2 个 SSP 控制器,带 FIFO 和多协议功能。支持高达 25 Mbit/s 的数据速率、I2C 总线接口,支持完整的 I2C 总线规范和快速模式增强,数据速率为 1 Mbit/s,具有多地址识别和监控模式
可用作芯片识别的唯一序列号
3.3 V 单电源(2.6 V 至 3.6 V)、
可选 LQFP48、HVQFN33 和 WLCSP20 封装

功能框图
武芯科技作为通用型芯片烧录器制造商,专注于IC烧录、测试领域。在持续优化更新烧录软件的同时,也在积极扩充和兼容各大厂商的芯片型号的烧录。ET9800烧录器支持一拖八烧录,同时提供联机、脱机等工作模式,可全方位满足NXP(恩智浦)LPC11Axx系列芯片的裸片离线烧录与在板烧录的量产需求。

ET9800是一款支持联机、脱机的量产型高速烧录器。采用高性能ARM+FPGA的硬件架构设计,编程带宽高达1.6Gb/s;内置128GB eMMC母头模块,能高效提升eMMC母片拷贝的量产效率;配备4.3英寸LCD触摸屏,优化脱机操作的交互体验;支持“一拖八”并行烧录,可实现复杂多样的烧录需求;且设备集成多种丰富接口,涵盖100/1000M以太网、SD卡、USB2.0 Device、RS-232串口、电源开关及接地端子等,灵活适配多元应用场景。同时提供上位机与下位机软件,支持自动化场景定制,适配智能化产线需求;支持各大厂商各种封装的MCU、eMMC、SPI、Nor/Nand flash、Parallel Nor/Nand flash、EEPROM及DSP等类型芯片,烧写稳定、高效。为客户提供创新的多场景芯片(IC)烧录解决方案。