武芯烧录器支持德州仪器(TI) MSP430G2x33、MSP430G2x03芯片编程烧录
发布时间:2026-02-05 10:10:24
MSP430G2x33、MSP430G2x03作为 MSP430 系列的成员,是德州仪器(TI)推出的超低功耗微控制器。该系列涵盖多种器件型号,各型号通过搭配面向不同应用需求的外设组合,形成灵活的产品布局。其架构结合五种低功耗运行模式,专为在便携式测量应用中延长电池使用寿命。芯片内置功能强大的16位RISC CPU,配合16位寄存器及可显著提升编码效率的常数发生器,在保持高效运算的同时降低代码体积。此外,集成的数控振荡器(DCO)具备极速唤醒能力,可在不到1µs的时间内将系统从低功耗模式切换至运行模式,兼顾低功耗与实时响应。
MSP430G2x03 与 MSP430G2x33 同属超低功耗混合信号微控制器,均内置16位定时器、最多24个支持触摸感测的I/O引脚,并具备基于通用串行通信接口(USCI)的内置通信能力。二者的区别在于,MSP430G2x33 系列额外集成了一个10位A/D转换器,为模拟信号采集提供便利。该系列的典型应用包括低成本传感器系统——这类系统通常需要捕获模拟信号、将其转换为数字值,并对数据进行初步处理,以便后续显示或传输至主机系统。
MSP430G2x33/G2x03 凭借其低功耗、集成触摸I/O与通信能力,能够很好地满足此类应用的需求。
主要特性
低电源电压范围:1.8V ~ 3.6V
超低功耗模式:
运行模式: 230 μA (在1 MHz 频率下),2.2 V
待机模式: 0.5μA
关断模式 (RAM 保持): 0.1μA
5 种节能模式
可在不到 1μs 的时间里超快速地从待机模式唤醒
16 位 RISC 架构、62.5ns 指令周期
基本时钟模块配置:高达16 MHz 的内部频率,具有4 种校准频率、内部超低功耗低频 (LF) 振荡器、32-kHz 晶体、外部数字时钟信号源
具有 3 个捕获/比较寄存器的两个 16 位 Timer_A
最多 24 个支持触感的 I/O 引脚
通用串行通信接口(USCI):增强型 UART 可支持自动波特率检测 (LIN)、IrDA 编码器和解码器、同步 SPI、I2C™
带内部基准、采样与保持以及自动扫描功能的 10 位 200-ksps 模数 (A/D) 转换器(见 )
欠压检测器
串行板上编程,无需从外部进行电压编程,利用安全熔丝实现可编程代码保护
具有两线制JTA(SBW)接口的片载仿真逻辑电路
系列成员汇总于
封装选项:TSSOP:20 引脚,28 引脚、PDIP:20 引脚、QFN:32 引脚

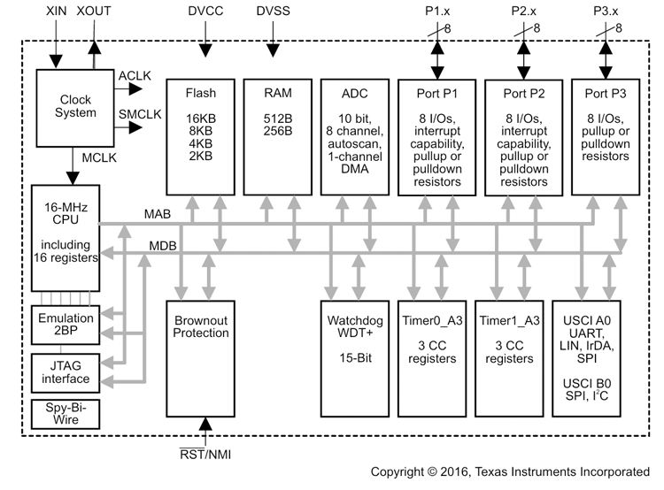
功能框图
武芯科技作为通用型芯片烧录器制造商,专注于IC烧录、测试领域。在持续优化更新烧录软件的同时,也在积极扩充和兼容各大厂商的芯片型号的烧录。ET9800烧录器支持一拖八烧录,同时提供联机、脱机等工作模式,可全方位满足德州仪器(TI)MSP430G2x33、MSP430G2x03系列芯片的裸片离线烧录与在板烧录的量产需求。

ET9800是一款支持联机、脱机的量产型高速烧录器。采用高性能ARM+FPGA的硬件架构设计,编程带宽高达1.6Gb/s;内置128GB eMMC母头模块,能高效提升eMMC母片拷贝的量产效率;配备4.3英寸LCD触摸屏,优化脱机操作的交互体验;支持“一拖八”并行烧录,可实现复杂多样的烧录需求;且设备集成多种丰富接口,涵盖100/1000M以太网、SD卡、USB2.0 Device、RS-232串口、电源开关及接地端子等,灵活适配多元应用场景。同时提供上位机与下位机软件,支持自动化场景定制,适配智能化产线需求;支持各大厂商各种封装的MCU、eMMC、SPI、Nor/Nand flash、Parallel Nor/Nand flash、EEPROM及DSP等类型芯片,烧写稳定、高效。为客户提供创新的多场景芯片(IC)烧录解决方案。