武芯烧录器支持瑞萨RENESAS RX13T系列
发布时间:2026-01-22 17:14:42
瑞萨RX13T系列适用于单片机控制应用的32位微控制器。其核心目标是实现对单台无刷直流电机(BLDC)的精准高效与低成本控制。搭载瑞萨RXv1CPU核心,且内置浮动预算单元(FPU),在32MHz的工作主频下能够提供高达50 DMIPS的运算能力。
此外,高度集成电机控制所需外设,它不仅包含了专为变频控制优化的多功能计时器(MTU3)。集成的5V供电12位A/D转换器,配备 3 通道同步采样/保持电路以确保信号捕捉的实时性,还集成了3通道可编程增益放大器(PGA)以应对微弱信号,并辅以比较器实现快速的逻辑判断。结合32 MHz的高分辨率三相互补PWM输出,可实现电机转子位置的精确感知与反馈,从而简化了硬件设计,提升了系统的可靠性与抗干扰能力。
除了核心的电机控制功能,RX13T系列还通过集成数据闪存、高速内置谐振器(HOCO)等一系列外围功能模块,极大地减少了系统对外部元器件的需求,有效缩减了PCB板的占用空间与整体物料清单(BOM)成本。系列产品提供32引脚和48引脚两种紧凑封装,以满足不同应用场景的空间布局要求。同时,它与现有的RX产品保持着高度的兼容性,方便已有硬件/软件的移植。其典型应用于单电机控制场景,如无线无刷电钻、智能 BLDC 吊扇、240V AC 输入 BLDC 电机,还可用于游戏方向盘、RC 汽车等模拟器设备。
主要特性:
搭载32MHz工作主频的RXv1内核(3.12CoreMark/MHz)
浮点运算单元(FPU)
2.7V~5.5V宽电压工作
工作温度范围:-40°C~105°C
搭载高达128KB的程序闪存、12KB的SRAM及4KB数据闪存
搭载变频控制计时器MTU3
搭载12位、8通道A/D转换器,支持3通道同步采样/保持电路
比较器×3通道、可编程增益放大器(PGA)×3通道
搭载±1.0%高精度的高速时钟谐振器(HOCO)

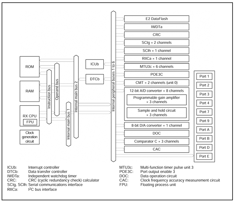
内部框图
武芯科技作为通用型芯片烧录器制造商,专注于IC烧录、测试领域。在持续优化更新烧录软件的同时,也在积极扩充和兼容各大厂商的芯片型号的烧录。ET9800烧录器支持一拖八烧录,同时提供联机、脱机等工作模式,可全方位满足瑞萨RX13T系列芯片的裸片离线烧录与在板烧录的量产需求。

ET9800是一款支持联机、脱机的量产型高速烧录器。采用高性能ARM+FPGA的硬件架构设计,编程带宽高达1.6Gb/s;内置128GB eMMC母头模块,能高效提升eMMC母片拷贝的量产效率;配备4.3英寸LCD触摸屏,优化脱机操作的交互体验;支持“一拖八”并行烧录,可实现复杂多样的烧录需求;且设备集成多种丰富接口,涵盖100/1000M以太网、SD卡、USB2.0 Device、RS-232串口、电源开关及接地端子等,灵活适配多元应用场景。同时提供上位机与下位机软件,支持自动化场景定制,适配智能化产线需求;支持各大厂商各种封装的MCU、eMMC、SPI、Nor/Nand flash、Parallel Nor/Nand flash、EEPROM及DSP等类型芯片,烧写稳定、高效。为客户提供创新的多场景芯片(IC)烧录解决方案。