武芯烧录器支持瑞萨RENESAS R8C/2A、R8C/2B系列
发布时间:2025-12-25 16:39:19
瑞萨R8C/2A,R8C/2B系列单片微控制器(MCU),内核采用 R8C/Tiny 系列 CPU 核心,支持复杂的指令集,能够实现高效的运算能力。且配备乘法器,可加速运算任务处理并提升指令执行速度。
作为共性优势,两款系列MCU皆具备低功耗特性、高兼容性及丰富的外设资源,同时支持灵活的工作模式以实现精细化的管理;在硬件设计上采用抗干扰优化方案,既能降低自身的电磁噪声辐射,又增强了抵抗外部电磁干扰(EMI)的能力。
此外,R8C/2A 群列与 R8C/2B 全的区别仅在于是否具有数据闪存配置;其中,R8C/2B 群内置片上数据闪存(1 KB × 2 块),适用于需要存储校准参数、故障日志等数据的音频设备及消费类电子产品;而R8C/2A 群未配置数据闪存,更适配无需存储用户数据的电子家用电器或办公设备控制等场景。
主要特性:
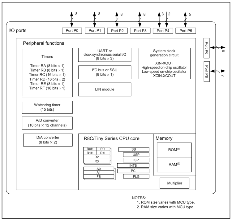
CPU:89条基本指令、1M字节地址空间、32位乘法器;
储存器:ROM、RAM;
输入/输出接口:55个,电流驱动接口8个;
时钟:XIN时钟生产电路、内部振荡器(高速、低速)、XCIN时钟生产电路、XIN 时钟振荡停止检测功能、分频电路、低功耗模式:标准运行模式(高速时钟、低速时钟、高速(低速)片上振荡器)、等待模式、停止模式;
中断:外部5个中断源、内部23个中断源;
看门狗:15位x1分频器、可选择复位启动功能;
定时器:定时器RA(8位)、定时器RB(8位)、定时器RC(16位)、定时器RD(16位x2)、定时器RE(8位)、定时器RF(16位);
接口:UARTx3、SSU、I²C总线、A/D转换器(10位x12通道)、LIN模块;
工作环境温度:-20~85°C(N版) 、-40~85°C(D版)、-20~105°C(Y版);
封装:64管脚塑模LQFP、64管脚塑模FLGA;

内部框图
武芯科技作为通用型芯片烧录器制造商,专注于IC烧录、测试领域。在持续优化更新烧录软件的同时,也在积极扩充和兼容各大厂商的芯片型号的烧录。ET9800烧录器支持一拖八烧录,同时提供联机、脱机等工作模式,可全方位满足瑞萨R8C/Tiny全系列芯片的裸片离线烧录与在板烧录的量产需求。

ET9800是一款支持联机、脱机的量产型高速烧录器。采用高性能ARM+FPGA的硬件架构设计,编程带宽高达1.6Gb/s;内置128GB eMMC母头模块,能高效提升eMMC母片拷贝的量产效率;配备4.3英寸LCD触摸屏,优化脱机操作的交互体验;支持“一拖八”并行烧录,可实现复杂多样的烧录需求;且设备集成多种丰富接口,涵盖100/1000M以太网、SD卡、USB2.0 Device、RS-232串口、电源开关及接地端子等,灵活适配多元应用场景。同时提供上位机与下位机软件,支持自动化场景定制,适配智能化产线需求;支持各大厂商各种封装的MCU、eMMC、SPI、Nor/Nand flash、Parallel Nor/Nand flash、EEPROM及DSP等类型芯片,烧写稳定、高效。为客户提供创新的多场景芯片(IC)烧录解决方案。