武芯烧录器支持瑞萨RENESAS R8C/18、R8C/19系列
发布时间:2025-12-19 14:02:58
瑞萨R8C/Tiny系列单片机是一款专为小型化应用设计的高性能微控制器。R8C/18群、19群作为其中的家族成员,它们都延续了该系列高稳定性与低功耗的特性,已广泛应用于各类嵌入式系统。如电器家用设备、办公设备、住宅设备(如传感器与安全系统)、一般工业设备、音响等场景。
R8C/18群、19群微控制器(MCU)均采用高性能的硅栅CMOS工艺制造,并封装于20管脚塑封LSSOP、SDIP或者28引脚塑封HWQFN中。内嵌R8C/Tiny系列CPU内核,可实现复杂的指令以提供较高的指令效率。拥有1M字节的地址空间,能够高速执行指令。其中,R8C/18群和R8C/19群的根本区别在于数据闪存(ROM)配置;R8C/18群无内置数据闪存,它主要聚焦基础程序存储与执行对存储和外设需求极简的小型控制模块,如简易传感器节点;R8C/19群片上集成了2块1KB数据闪存ROM,方便用户临时存储运行数据需频繁读写临时数据的小型设备,如短周期数据采集的传感器;此外,两者的外设功能完全相同,均保障同硬件设计下的功能灵活选择。
主要特性:
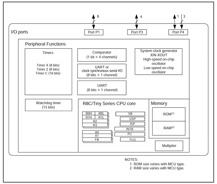
CPU:89条基本指令、1M字节地址空间;
接口:UART或时钟同步串行I/O、UART、A/D转换器;
中断:内部10个中断源、外部4个中断源、软件4个中断源;
定时器:定时器X(8位)、定时器Z(8位)、定时器C(8位);
看门狗:15位x1分频器、可选择复位启动功能;
时钟:XIN时钟生成电路、内部振荡器(高速、低速);
包含:振动停止检测功能、电压检测电路、上电复位电路;
工作环境温度:-20~85°C 、-40~85°C (D版);
封装:20管脚塑模LSSOP、20管脚塑模SDIP、28管脚塑模HWQFN;

内部框图
武芯科技作为通用型芯片烧录器制造商,专注于IC烧录、测试领域。在持续优化更新烧录软件的同时,也在积极扩充和兼容各大厂商的芯片型号的烧录。ET9800烧录器支持一拖八烧录,同时提供联机、脱机等工作模式,可全方位满足瑞萨R8C/Tiny全系列芯片的裸片离线烧录与在板烧录的量产需求。

ET9800是一款支持联机、脱机的量产型高速烧录器。采用高性能ARM+FPGA的硬件架构设计,编程带宽高达1.6Gb/s;内置128GB eMMC母头模块,能高效提升eMMC母片拷贝的量产效率;配备4.3英寸LCD触摸屏,优化脱机操作的交互体验;支持“一拖八”并行烧录,可实现复杂多样的烧录需求;且设备集成多种丰富接口,涵盖100/1000M以太网、SD卡、USB2.0 Device、RS-232串口、电源开关及接地端子等,灵活适配多元应用场景。同时提供上位机与下位机软件,支持自动化场景定制,适配智能化产线需求;支持各大厂商各种封装的MCU、eMMC、SPI、Nor/Nand flash、Parallel Nor/Nand flash、EEPROM及DSP等类型芯片,烧写稳定、高效。为客户提供创新的多场景芯片(IC)烧录解决方案。