武芯烧录器支持瑞萨RENESAS R8C/13系列
发布时间:2025-12-18 18:08:49
瑞萨R8C/Tiny系列是一款专为小型化应用设计的高性能16位微控制器。其家族成员R8C/13群是采用高性能硅栅CMOS工艺制造、搭载R8C/Tiny系列CPU内核的微控制器,采用32管脚塑模LQFP封装形式封装形式。它与同系列R8C/10、R8C/11、R8C/12群一样,均支持运行复杂的指令,并具备高效的指令执行能力;在数据处理方面,也都拥有1MB字节的地址空间,能够高速执行指令,保障运算性能。在数据闪存配置上,R8C/10、R8C/11群没有内置闪存模块,而R8C/12、R8C/13群则均内嵌2块2KB ROM数据闪存模块,可提供高效可靠的小容量数据存储。在外围功能模块方面,R8C/10、R8C/11、R8C/12、R8C/13群都具备定时器、转换器、内部振荡器、振荡停止检测等基本功能。其中R8C/11、R8C/13群额外集成了电压检测电路和上电复位功能,而R8C/10、R8C/12群则未配置这两项外设。作为R8C系列的通用MCU,它们都延续了该系列高稳定性与低功耗的特性,并都广泛应用家用电器设备、办公设备、住宅传感器设备与安防系统、一般工业设备、音响等场景中。
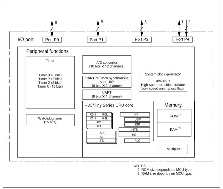
CPU:1M字节地址空间、89条基本指令;
端口:输入/输出22个,I/O端口8个;
定时器:定时器X(8位)、定时器Y(8位)、定时器Z(8位)、定时器C(16位);
接口:UART或者时钟同步串行I/O、UART、A/D转换器;
看门狗:15位x1分频器、可选择复位启动功能;
中断:内部11个中断源、外部5个中断源、软件4个中断源;
时钟发生电路:XIN时钟生成电路、内部振荡器(高速、低速);
包含:电压电路检测、上电复位;
工作环境温度:-20℃~85℃、-40℃~85℃(D版);
封装:32管脚塑模LQFP;

内部框图
武芯科技作为通用型芯片烧录器制造商,专注于IC烧录、测试领域。在持续优化更新烧录软件的同时,也在积极扩充和兼容各大厂商的芯片型号的烧录。ET9800烧录器支持一拖八烧录,同时提供联机、脱机等工作模式,可全方位满足瑞萨R8C/Tiny全系列芯片的裸片离线烧录与在板烧录的量产需求。

ET9800是一款支持联机、脱机的量产型高速烧录器。采用高性能ARM+FPGA的硬件架构设计,编程带宽高达1.6Gb/s;内置128GB eMMC母头模块,能高效提升eMMC母片拷贝的量产效率;配备4.3英寸LCD触摸屏,优化脱机操作的交互体验;支持“一拖八”并行烧录,可实现复杂多样的烧录需求;且设备集成多种丰富接口,涵盖100/1000M以太网、SD卡、USB2.0 Device、RS-232串口、电源开关及接地端子等,灵活适配多元应用场景。同时提供上位机与下位机软件,支持自动化场景定制,适配智能化产线需求;支持各大厂商各种封装的MCU、eMMC、SPI、Nor/Nand flash、Parallel Nor/Nand flash、EEPROM及DSP等类型芯片,烧写稳定、高效。为客户提供创新的多场景芯片(IC)烧录解决方案。